来源:证券之星资讯
2026-04-17 15:35:49
证券之星 赵子祥
近日,金信期货河南分公司涉居间业务违规被监管部门责令改正,相关负责人被采取监管谈话措施;回溯至2025年,公司总部也曾因互联网营销存在违规问题被监管处罚。
证券之星注意到,公司前两大股东均处于高风险状态,控股股东寿光美伦纸业所持股权被多地法院轮候冻结,陷入司法处置的“质押困局”,叠加股东自身失信被执行、限制高消费等多重负面标签,金信期货的经营稳定性与治理有效性正受到市场关注。
合规治理连续承压,分支机构内控短板凸显
4月14日,河南证监局发布行政监管措施决定书,直指金信期货河南分公司存在三大违规事实。其中,未签订居间合同的人员实质开展居间业务、安排挂名居间、内部控制存在较大缺陷。
基于《期货公司监督管理办法》相关规定,监管部门对该分公司作出责令改正的决定,并要求其在1个月内提交书面整改报告,分公司负责人卢俊俊被采取监管谈话措施,相关违规信息均被记入证券期货市场诚信档案。
这并非金信期货首次遭遇监管处罚。回溯至2025年3月,上海证监局曾对金信期货总部出具行政监管措施,指出其在互联网营销活动中存在误导性宣传、风险提示不足等问题,同样采取了责令改正的监管措施。
两次处罚时间跨度不足一年,且分别指向分支机构业务管理与总部营销合规两大领域,暴露出公司在合规治理体系建设上的系统性短板。
从行业监管导向来看,近年来监管部门持续强化期货公司居间业务与互联网营销的合规监管。
在此背景下,金信期货河南分公司的违规行为,说明公司未能建立有效的分支机构合规管控机制,总部对分公司的业务监督、合规检查未能发挥应有作用。
根据监管要求,公司需对居间业务管理、互联网营销合规、分支机构内控等方面进行全面整改,后续整改效果有待观察。而对于中小期货公司而言,合规治理是生存发展的底线,连续的监管处罚不仅会影响公司的市场声誉,更可能导致公司在业务开展、分类评价、监管评级等方面受限。
股东风险加剧,公司经营稳定性临考
金信期货成立于1995年10月23日,注册资本1.80亿元人民币,位于上海市。公司主要经营商品期货经纪、金融期货经纪、期货投资咨询及资产管理等业务,在上海、湖南、山东等地设有多家分支机构。
相较于合规治理层面的问题,金信期货的股东层面风险更为复杂且深远。根据天眼查公开信息,公司第一大股东寿光美伦纸业有限责任公司持有其35.43%的股权,认缴出资额6390万元;第二大股东湖南美湖智造股份有限公司持有18.11%的股权,认缴出资额3266万元。
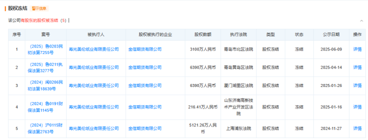
从控股股东寿光美伦纸业来看,天眼查股权冻结信息显示,自2024年11月起,其持有的金信期货股权已先后被上海浦东法院、厦门湖里区法院、青岛黄岛区法院、青岛市北区法院、济南高新区法院等多地法院轮候冻结,涉及冻结金额覆盖其全部持股,累计涉及金额超1.4亿元。
截至2026年4月,所有冻结状态均未解除,意味着寿光美伦纸业所持金信期货股权已无法正常转让、质押,若其债务纠纷无法得到化解,相关股权存在被司法拍卖的可能,将直接影响金信期货的控制权稳定性。

股权冻结的背后,是寿光美伦纸业自身深陷的债务危机。天眼查数据显示,寿光美伦纸业已被列为失信被执行人,同时被法院采取限制高消费措施,企查查数据也显示其新增终本案件,债务纠纷已进入强制执行阶段。
作为晨鸣纸业旗下的子公司,寿光美伦纸业的债务危机也与母公司的困境密切相关,晨鸣纸业近年来深陷债务压力,资产负债率长期处于高位,难以对旗下子公司提供有效的资金支持。
早在2023年末,晨鸣纸业就曾公告拟通过公开挂牌方式出售寿光美伦纸业持有的金信期货股权,试图通过剥离金融资产缓解债务压力,但该计划至今未能落地,股权反而陷入更深的冻结困局。
金信期货第二大股东湖南美湖智造的风险同样不容忽视。作为A股上市公司,湖南美湖智造所持金信期货股权处于质押状态,而上市公司自身控股股东的股份也存在高比例质押情况,反映出其自身资金链的紧张状态。
股东层面的风险,正在对金信期货的经营产生连锁反应。首先,资本补充能力受限,期货行业是资本密集型行业,净资本规模直接决定公司的业务开展能力与合规空间,而控股股东深陷债务危机、股权被冻结,意味着金信期货难以获得股东增资支持,也无法通过引入新股东补充资本,净资本规模长期处于行业低位,限制了公司的业务扩张与合规整改空间。
其次,治理有效性受到影响,控股股东无法正常行使表决权、参与公司重大决策,导致公司战略规划与经营决策推进受阻,治理结构的稳定性受到挑战。
对于中小期货公司而言,股东背景是影响其发展的重要因素之一,头部期货公司往往依托强大的股东背景获得资本支持、客户资源与业务协同优势,而金信期货的股东风险,无疑进一步加剧了其在行业竞争中的劣势。
作为一家在行业中处于中下游位置的中小期货公司,金信期货正面临合规治理、股东背景、经营业绩等多重压力。连续的监管处罚暴露出公司在合规治理上的系统性短板,而股东层面的司法冻结与债务危机,则为公司的经营稳定性蒙上了一层阴影。未来,金信期货能否顺利完成监管整改,化解股东层面的风险传导,走出当前的困境,仍有待观察。(本文首发证券之星,作者|赵子祥)
证券之星财经
2026-04-17
证券之星财经
2026-04-17
证券之星财经
2026-04-17
证券之星资讯
2026-04-17
证券之星资讯
2026-04-17
证券之星资讯
2026-04-17
证券之星资讯
2026-04-17
证券之星资讯
2026-04-17
证券之星资讯
2026-04-17