来源:证星持股追踪
2025-12-18 21:03:31
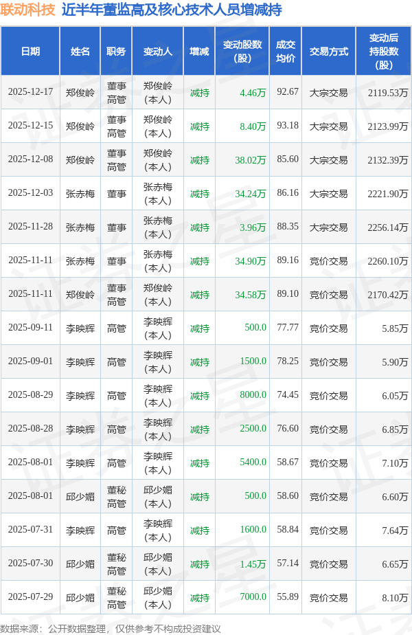
证券之星消息,根据12月18日市场公开信息、上市公司公告及交易所披露数据整理,联动科技(301369)最新董监高及相关人员股份变动情况:2025年12月17日公司董事,高管郑俊岭共减持公司股份4.46万股,占公司总股本为0.0632%。变动期间公司股价上涨5.5%,12月17日当日收盘报122.21元。
联动科技近半年内的董监高及核心技术人员增减持详情如下:

联动科技的高管列表及最新持股情况如下:

融资融券数据显示该股近5日融资净流出129.95万,融资余额减少;融券净流入0.0,融券余额增加。
该股最近90天内无机构评级。
以上内容为证券之星据公开信息整理,由AI算法生成(网信算备310104345710301240019号),不构成投资建议。
证星董秘互动
2026-03-20
证星董秘互动
2026-03-20
证星董秘互动
2026-03-20
中国网财经
2026-03-20
中国网财经
2026-03-20
证券之星港股ESG
2026-03-20
证券之星资讯
2026-03-19
证券之星资讯
2026-03-19
证券之星资讯
2026-03-19