来源:证星持股追踪
2025-12-10 21:02:56
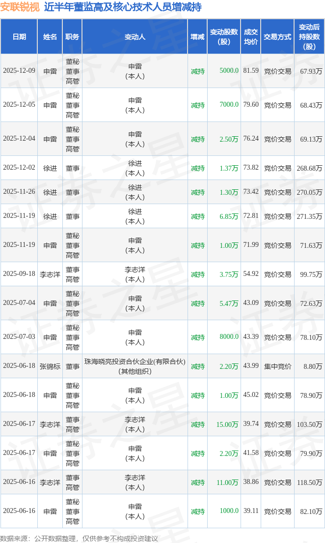
证券之星消息,根据12月10日市场公开信息、上市公司公告及交易所披露数据整理,安联锐视(301042)最新董监高及相关人员股份变动情况:2025年12月9日公司董秘,董事,高管申雷共减持公司股份5000.0股,占公司总股本为0.0072%。变动期间公司股价上涨8.37%,12月9日当日收盘报84.45元。
安联锐视近半年内的董监高及核心技术人员增减持详情如下:

安联锐视的高管列表及最新持股情况如下:

融资融券数据显示该股近5日融资净流入3901.2万,融资余额增加;融券净流入0.0,融券余额增加。
该股最近90天内共有2家机构给出评级,买入评级1家,增持评级1家。
以上内容为证券之星据公开信息整理,由AI算法生成(网信算备310104345710301240019号),不构成投资建议。
证星董秘互动
2025-12-10
证星董秘互动
2025-12-10
网易财经
2025-12-10
证星董秘互动
2025-12-10
证券之星APP
2025-12-10
阿尔法工场
2025-12-10
证券之星资讯
2025-12-10
证券之星资讯
2025-12-10
证券之星资讯
2025-12-10