来源:证星持股追踪
2025-12-05 21:02:54
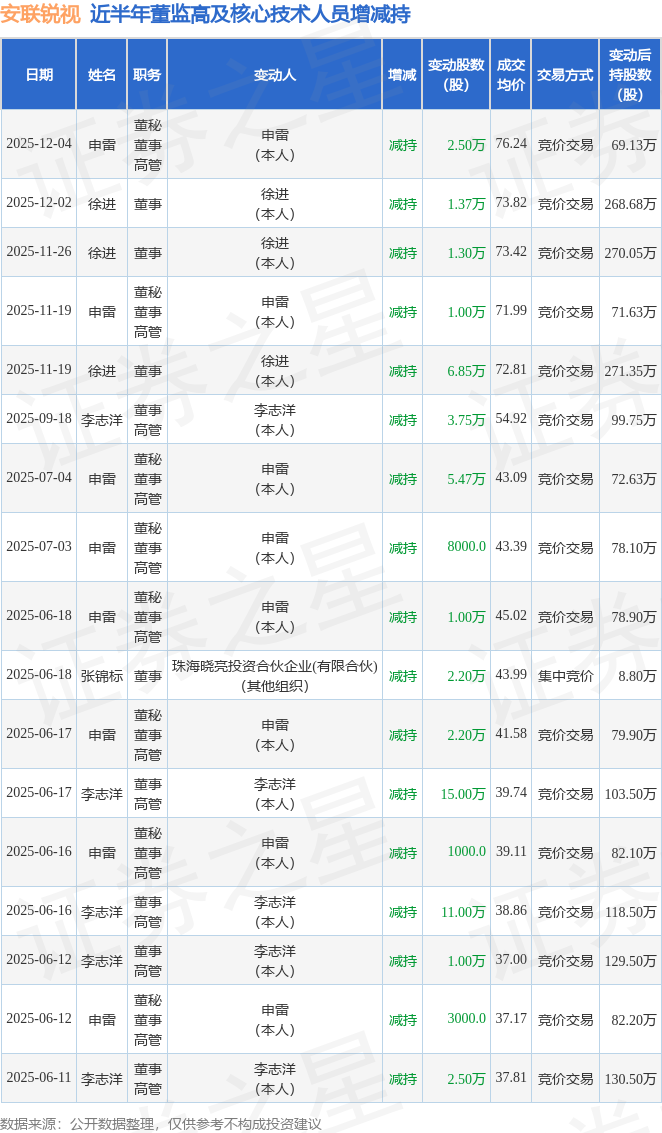
证券之星消息,根据12月5日市场公开信息、上市公司公告及交易所披露数据整理,安联锐视(301042)最新董监高及相关人员股份变动情况:2025年12月4日公司董秘,董事,高管申雷共减持公司股份2.5万股,占公司总股本为0.0359%。变动期间公司股价上涨6.01%,12月4日当日收盘报76.43元。
安联锐视近半年内的董监高及核心技术人员增减持详情如下:

安联锐视的高管列表及最新持股情况如下:

融资融券数据显示该股近5日融资净流入58.94万,融资余额增加;融券净流入0.0,融券余额增加。
该股最近90天内共有1家机构给出评级,买入评级1家。
以上内容为证券之星据公开信息整理,由AI算法生成(网信算备310104345710301240019号),不构成投资建议。
证星财报简析
2026-03-20
证星财报简析
2026-03-20
证星财报简析
2026-03-20
证星财报简析
2026-03-20
证券之星企业动态
2026-03-20
证券之星企业动态
2026-03-20
证券之星资讯
2026-03-19
证券之星资讯
2026-03-19
证券之星资讯
2026-03-19