来源:证券之星港美股
2025-12-29 11:50:21
滔搏(06110.HK)再跌超4%,截至发稿,跌4.32%,报2.88港元,成交额1747.52万港元。
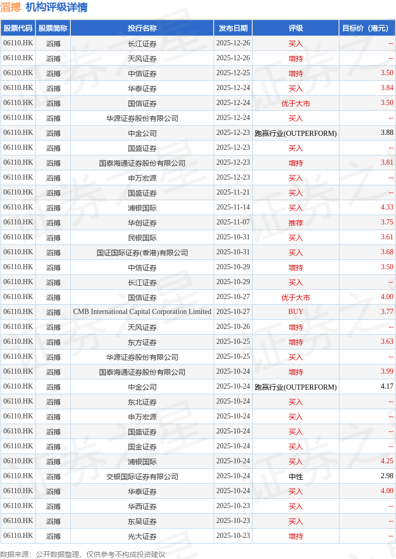
投行对该股的评级以买入为主,近90天内共有19家投行给出买入评级,近90天的目标均价为3.79港元。长江证券最新一份研报给予滔搏买入评级。
机构评级详情见下表:

滔搏港股市值186.66亿港元,在专业零售行业中排名第2。主要指标见下表:

以上内容为证券之星据公开信息整理,由AI算法生成(网信算备310104345710301240019号),不构成投资建议。
21世纪经济报道
2026-05-20
证券时报
2026-05-20
证券之星港美股
2026-05-20
证券之星港美股
2026-05-20
港股研究社
2026-05-20
格隆汇
2026-05-20
证券之星资讯
2026-05-20
证券之星资讯
2026-05-20
证券之星资讯
2026-05-19