来源:证星持股追踪
2025-12-25 21:03:48
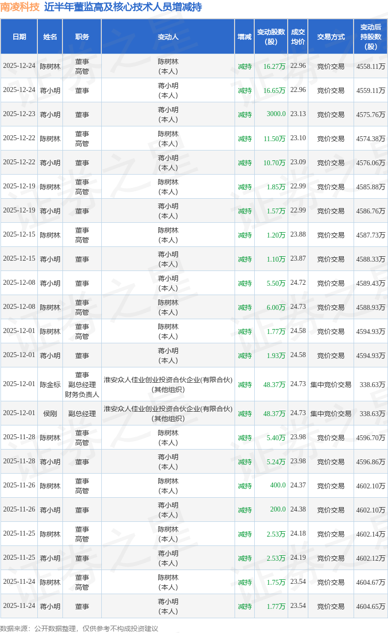
证券之星消息,根据12月25日市场公开信息、上市公司公告及交易所披露数据整理,南凌科技(300921)最新董监高及相关人员股份变动情况:2025年12月24日公司董事,高管陈树林、董事蒋小明共减持公司股份32.92万股,占公司总股本为0.1791%。变动期间公司股价上涨0.53%,12月24日当日收盘报22.91元。
南凌科技近半年内的董监高及核心技术人员增减持详情如下:

南凌科技的高管列表及最新持股情况如下:

融资融券数据显示该股近5日融资净流出287.21万,融资余额减少;融券净流入4600.0,融券余额增加。
该股最近90天内无机构评级。
以上内容为证券之星据公开信息整理,由AI算法生成(网信算备310104345710301240019号),不构成投资建议。
格隆汇
2025-12-25
格隆汇
2025-12-25
格隆汇
2025-12-25
格隆汇
2025-12-25
格隆汇
2025-12-25
格隆汇
2025-12-25
证券之星资讯
2025-12-25
证券之星资讯
2025-12-25
证券之星资讯
2025-12-25