来源:证券之星港美股
2025-12-25 10:40:18
申万宏源发布研报称,维持阿里巴巴-W(09988.HK)盈利预测,维持买入评级。预计阿里巴巴集团整体FY2026-FY2028收入分别为10386/11434/12506亿元,调整后归母净利润分别为1019/1455/1836亿元。SOTP估值法下,集团整体目标估值34124亿人民币,对应目标价203美元/ADS,对应上行空间34%,对应港股目标价197港币/股,对应上行空间34%。
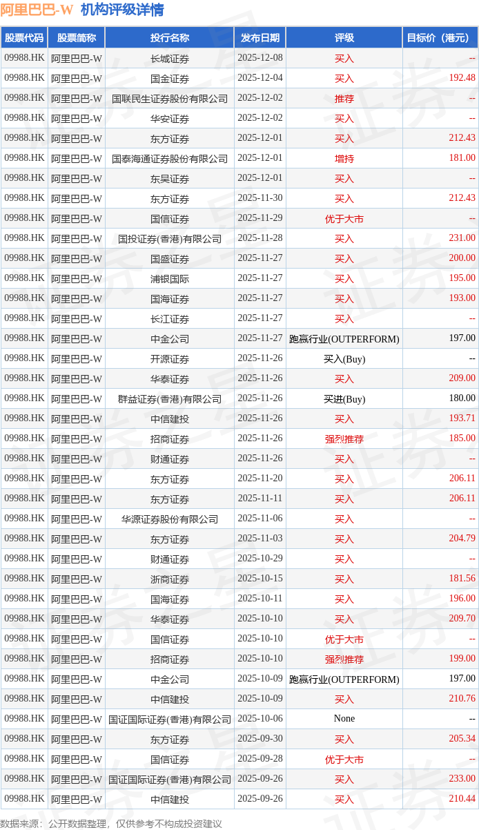
投行对该股的评级以买入为主,近90天内共有26家投行给出买入评级,近90天的目标均价为201.67港元。长城证券最新一份研报给予阿里巴巴-W买入评级。
机构评级详情见下表:

阿里巴巴-W港股市值28099亿港元,在一般零售行业中排名第1。主要指标见下表:

以上内容为证券之星据公开信息整理,由AI算法生成(网信算备310104345710301240019号),不构成投资建议。
证券之星港美股
2026-05-27
证券之星港美股
2026-05-27
证券之星港美股
2026-05-27
21世纪经济报道
2026-05-27
证券之星港美股
2026-05-27
证券之星港美股
2026-05-27
证券之星资讯
2026-05-27
证券之星资讯
2026-05-27
证券之星资讯
2026-05-27